Discurile imprimabile
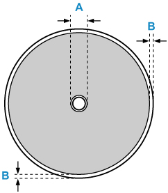
Zona de imprimare pentru discul imprimabil este de la 17 mm (0,67 inchi) faţă de diametrul interior până la 1 mm (0,04 inchi) faţă de diametrul exterior al suprafeţei de imprimare.

Zonă imprimabilă
- A: 17,0 mm (0,67 inchi)
- B: 1,0 mm (0,04 inchi)

