preskoči na glavni tekst

Ispisni diskovi

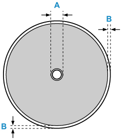
Područje ispisa za ispisni disk iznosi od 17 mm (0,67 inča) unutarnjeg promjera do 1 mm (0,04 inča) vanjskog promjera površine za ispis.

Područje ispisa

  • A: 17,0 mm (0,67 inča)
  • B: 1,0 mm (0,04 inča)