Yazdırılabilir Diskler
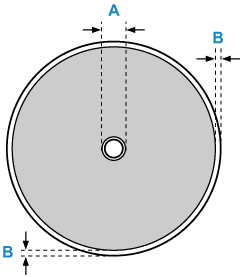
Yazdırılabilir diskin baskı alanı, baskı yüzeyinin iç çapının 17 mm (0,67 inç) dışından başlar ve dış çapından 1 mm (0,04 inç) önce biter.

Yazdırılabilir alan
- A: 17,0 mm (0,67 inç)
- B: 1,0 mm (0,04 inç)

S114
Yazdırılabilir diskin baskı alanı, baskı yüzeyinin iç çapının 17 mm (0,67 inç) dışından başlar ve dış çapından 1 mm (0,04 inç) önce biter.

Yazdırılabilir alan