liigu otse põhitekstini

Prinditavad plaadid

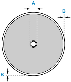
Prinditavate plaatide prindiala on ala, mis jääb 17 mm (0,67 tolli) kaugusele prinditava pinna sisemisest diameetrist ja 1 mm (0,04 tolli) kaugusele prinditava pinna välimisest diameetrist.

Prindiala

  • A: 17,0 mm (0,67 tolli)
  • B: 1,0 mm (0,04 tolli)