Đĩa có thể in
Khu vực in của đĩa có thể in là từ 17 mm (0,67 inch) của đường kính trong đến 1 mm (0,04 inch) từ đường kính ngoài của bề mặt in.

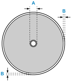
Khu vực có thể in
- A: 17,0 mm (0,67 inch)
- B: 1,0 mm (0,04 inch)

S114
Khu vực in của đĩa có thể in là từ 17 mm (0,67 inch) của đường kính trong đến 1 mm (0,04 inch) từ đường kính ngoài của bề mặt in.

Khu vực có thể in