ana metne atla

Yazdırılabilir Diskler

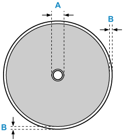
Yazdırılabilir diskin baskı alanı, baskı yüzeyinin iç çapının 17 mm (0,67 inç) dışından başlar ve dış çapından 1 mm (0,04 inç) önce biter.

Yazdırılabilir alan

  • A: 17,0 mm (0,67 inç)
  • B: 1,0 mm (0,04 inç)