Apdrukājamie diski
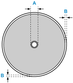
Apdrukājamā diska apdrukājamais apgabals ir 17 mm (0,67 collu) no apdrukājamās virsmas iekšējā diametra un 1 mm (0,04 collu) no apdrukājamā apgabala ārējā diametra.

Apdrukājamais apgabals
- A: 17,0 mm (0,67 collas)
- B: 1,0 mm (0,04 collas)

