Dischi stampabili
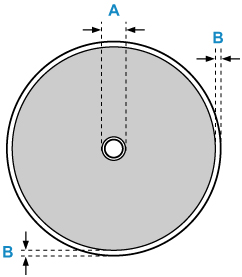
L'area di stampa del disco stampabile va da 17 mm (0,67") del diametro interno a 1 mm (0,04") del diametro esterno della superficie di stampa.

Area stampabile
- A: 17,0 mm (0,67")
- B: 1,0 mm (0,04")

S114
L'area di stampa del disco stampabile va da 17 mm (0,67") del diametro interno a 1 mm (0,04") del diametro esterno della superficie di stampa.

Area stampabile