Printbare diske
Udskriftsområdet på den printbare disk er fra 17 mm (0,67 tommer) fra den interne diameter til 1 mm (0,04 tommer) fra den eksterne diameter af udskriftsoverfladen.

Udskriftsområde
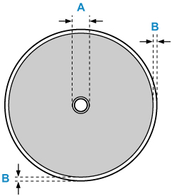
- A: 17,0 mm (0,67 tommer)
- B: 1,0 mm (0,04 tommer)

S114
Udskriftsområdet på den printbare disk er fra 17 mm (0,67 tommer) fra den interne diameter til 1 mm (0,04 tommer) fra den eksterne diameter af udskriftsoverfladen.

Udskriftsområde