本文にスキップ
サイトマップ
Top
製品情報
仕様
印刷領域
プリンタブルディスク
S114
プリンタブルディスク
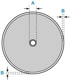
プリンタブルディスクの印刷領域は、印刷面の最小内径17 mm(0.67 in.)から、最大外径の1 mm(0.04 in.)内側までの範囲です。
印刷領域
A:17.0 mm(0.67 in.)
B:1.0 mm(0.04 in.)