轉到正文
網站地圖
主頁
印表機資訊
規格
列印區域
可列印光碟
S114
可列印光碟
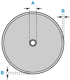
可列印光碟的列印區域為列印面上從內徑17mm(0.67in)處到距離外徑1mm(0.04in)處的區域。
可列印區域
A:
17.0mm(0.67in)
B:
1.0mm(0.04in)