转到正文
网站地图
首页
打印机信息
规格
打印区域
可打印光盘
S114
可打印光盘
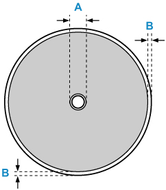
可打印光盘的打印区域为从打印面上距离内径17毫米(0.67英寸)到距离外径1毫米(0.04英寸)的区域。
可打印区域
A:
17.0毫米(0.67英寸)
B:
1.0毫米(0.04英寸)