Spausdinamieji diskai
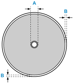
Spausdinamojo disko spausdinimo sritis yra nuo 17 mm (0,67 col.) nuo vidinio iki 1 mm (0,04 col.) nuo išorinio spausdinamojo paviršiaus krašto.

Spausdinimo sritis
- A: 17,0 mm (0,67 col.)
- B: 1,0 mm (0,04 col.)
praleisti iki pagrindinio teksto
S114
Spausdinamojo disko spausdinimo sritis yra nuo 17 mm (0,67 col.) nuo vidinio iki 1 mm (0,04 col.) nuo išorinio spausdinamojo paviršiaus krašto.

Spausdinimo sritis