Disques imprimables
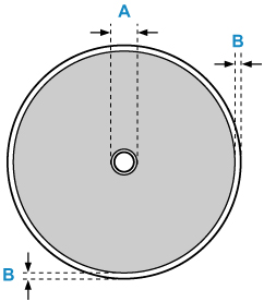
La zone d'impression du disque imprimable est la zone comprise entre le diamètre interne (17 mm (0,67 po.)) et le diamètre externe (1 mm (0,04 po.)) de la surface d'impression.

Zone imprimable
- A: 17,0 mm (0,67 po.)
- B: 1,0 mm (0,04 po.)
