μετάβαση στο κύριο κείμενο

Εκτυπώσιμοι δίσκοι

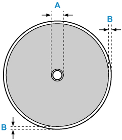
Η περιοχή εκτύπωσης του εκτυπώσιμου δίσκου είναι από 17 χιλ. (0,67 ίντσες) της εσωτερικής διαμέτρου έως 1 χιλ. (0,04 ίντσες) από την εξωτερική διάμετρο της επιφάνειας εκτύπωσης.

Εκτυπώσιμη περιοχή

  • A: 17,0 χιλ. (0,67 ίντσες)
  • B: 1,0 χιλ. (0,04 ίντσες)