Discurile imprimabile
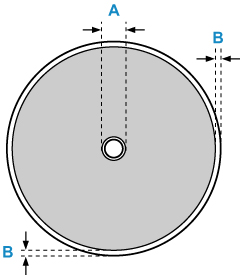
Zona de imprimare pentru discul imprimabil este de la 17 mm (0,67 in.) faţă de diametrul interior până la 1 mm (0,04 in.) faţă de diametrul exterior al suprafeţei de imprimare.

Zonă imprimabilă
- A: 17,0 mm (0,67 in.)
- B: 1,0 mm (0,04 in.)

