Utskrivbare disker
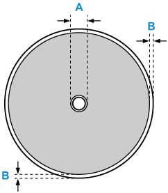
Utskriftsområdet på den skrivbare disken er området fra 17 mm (0,67 tommer) fra den indre kanten og til 1 mm (0,04 tommer) fra den ytre kanten av utskriftsoverflaten.

Utskriftsområde
- A: 17,0 mm (0,67 tommer)
- B: 1,0 mm (0,04 tommer)

